BTC/HKD-3.44%
ETH/HKD-4.65%
LTC/HKD-4.11%
ADA/HKD-5.01%
SOL/HKD-6.24%
XRP/HKD-5.17%在這篇文章中,我們深入研究了數據可用性問題的細節以及它如何影響以太坊的擴展。
什么是數據可用性問題?
數據可用性問題:區塊鏈網絡中的節點如何確保新提議區塊的所有數據實際上是可用的?如果數據不可用,則該塊可能包含被塊生產者隱藏的惡意交易。
舉個例子,假設Alice是ZK-Rollup(ZKR)的運營商。她在以太坊上提交了經過驗證的ZK證明。如果她沒有在以太坊上提交所有交易數據,盡管她的證據證明rollup中進行的所有狀態轉換都是有效的,但rollup的用戶仍然可能對其當前賬戶余額一無所知。由于提交的證明的零知識性質,提交的證明沒有說明當前狀態。
OptimisticRollup(OPR)設置中有一個類似的例子,Alice在以太坊上提交了一個斷言,但OPR的任何參與者都不能挑戰它,因為交易數據不可用,因此他們無法重新計算或挑戰該斷言.
AltLayer將集成Celestia數據可用性層以優化其Rollup:7月21日消息,以太坊擴容項目AltLayer宣布將利用Celestia的數據可用性(DA)層,以解決數據可用性問題并以無需信任的方式驗證Rollup狀態。
作為集成的一部分,AltLayer將從Rollup中檢索鏈數據,執行壓縮并上傳到Celesta網絡,這能夠讓AltLayer使用來自Celestia的數據完全重建rollup狀態。[2023/7/21 15:51:10]
為了應對上述情況,OPR和ZKR的設計都要求operator將以太坊上的所有交易細節作為“calldata”提交。雖然這使他們在短期內避免了DA問題,但隨著rollup內部交易數量的增長,需要提交的數據量也會增加,從而限制了這些rollup可以提供的擴展量。
高通CEO安蒙:5G將助力AI擴展,使數據可與其他設備及云端共享:3月25日消息,高通公司總裁兼CEO安蒙在中國發展高層論壇2023年會“推進數字經濟與實體經濟融合”專場上演講稱,5G是實現數字社會的重要基礎設施,此外,5G還將助力AI擴展,為邊緣計算和端側人工智能帶來諸多益處。
安蒙認為,數字化轉型將實現人與萬物智能互聯。這也意味著超高速、可靠連接隨時隨地、始終連接到云端,具有嵌入式處理器和人工智能(AI)的一系列設備,以及數字孿生的普及。(澎湃)[2023/3/25 13:26:29]
這對如今的區塊鏈有何影響?
為了回答這個問題,讓我們首先回顧一下類似以太坊的區塊鏈的一般區塊結構以及任何區塊鏈網絡上存在的客戶端類型。
一個塊可以分為兩個主要部分:
深圳發布放寬市場準入特別措施:利用區塊鏈等技術實現數據可交易:金色財經報道,1月26 日,國家發改委發布《關于深圳建設中國特色社會主義先行示范區放寬市場準入若干特別措施的意見》,其中指出:放寬數據要素交易和跨境數據業務等相關領域市場準入,利用區塊鏈等先進技術實現數據可交易、流向可追溯、安全有保障,探索建立數據要素交易領域相關標準體系;鼓勵以“銀企信息系統直聯+物聯網+區塊鏈技術”創新方式,打通銀行、核心企業、倉儲監管企業等系統間信息接口;鼓勵以區塊鏈和物聯網設備為基礎,形成存貨質押監管技術統一標準;利用區塊鏈、量子信息技術,實現線上線下聯動監管、藥品流向全程追溯、數據安全存儲。探索運用數字人民幣進行互聯網處方藥和農產品供應鏈交易結算。[2022/1/26 9:14:08]
區塊頭:一個小區塊頭包含與區塊中包含的交易相關的摘要和元數據。
中科聚信CTO賀光忠:區塊鏈可提升AI數據可信度:中科聚信公司首席技術官賀光忠先生在最近的一次媒體訪談中談道:“區塊鏈技術與人工智能技術已經在各行業中逐步應用,而兩者的結合將會是下一個非常重要的創新點。我們認為一個很重要的應用就是通過區塊鏈技術解決AI應用中數據可信度的挑戰,有了區塊鏈可信數據的保障,AI應用可以聚焦于算法。”[2018/4/9]
塊體:它包含所有交易數據并占塊大小的大部分。
在傳統的區塊鏈協議中,所有節點都被視為同步整個區塊并驗證所有狀態轉換的完整節點。所有節點花費大量資源來檢查交易有效性并存儲區塊。從好的方面來說,這些節點不會接受任何無效的交易。
可能還有另一類節點沒有資源來驗證每筆交易。相反,他們主要對了解區塊鏈的當前狀態以及與他們相關的某些交易是否包含在鏈中感興趣。這些輕客戶端依靠全節點來檢查所有交易是否有效。因此,在安全性方面,它們依賴于可信的全節點。
美國財政部:分布式技術存儲數據可能會給監管機構帶來挑戰:根據一份新的報告,美國財政部的一個監督機構認為,使用分散的分類賬來存儲信息“可能會給監管機構帶來挑戰”。該報告詳細說明了加密貨幣“代表不同的支付方式”,并指出,目前只有少部分人正在使用它們,“銀行和其他現有的金融服務提供商也已經進入這一市場。”并指出該技術的使用可能導致監管機構的問題,尤其是在分布式網絡而不是一個集中的地方存儲的信息。[2017/12/18]
但是如果區塊生產者沒有透露區塊背后的全部數據呢?這可以防止全節點驗證所有交易。這反過來又阻止了輕節點絕對確定它所看到的由所有合法交易支持的區塊頭。
為了解決這個問題,我們需要一種輕客戶端機制來驗證數據可用性。這將確保區塊生產者無法通過說服輕客戶端來隱藏數據。它還將迫使區塊生產者公開部分數據,使整個網絡以協作的方式訪問整個區塊。
讓我們借助一個例子更深入地探討這個問題。假設區塊生產者Alice用交易tx1、tx2、……、txn構造了一個區塊B。讓我們假設tx1是惡意交易。如果tx1被廣播,任何完整節點都可以驗證它是惡意的,并將其發送給輕客戶端,輕客戶端會立即知道該塊是不可接受的。但是,如果Alice想隱藏tx1,她會顯示標頭和除tx1之外的所有交易數據。全節點無法驗證tx1的正確性。讓輕節點查詢任意一筆交易,均勻隨機。輕客戶端查詢tx1的概率為1n。因此,Alice能夠以壓倒性的可能性欺騙輕客戶端接受惡意交易。由于不可歸因的性質,全節點無法以任何方式證明tx1不可用。
那么,我們該怎么辦呢?
該問題的解決方案在于在塊中引入冗余。總的來說,有大量關于編碼理論的文獻,特別是擦除編碼,可以幫助我們解決這個問題。
簡而言之,糾刪碼允許我們將任何n個數據塊擴展為2個數據塊,其中2n個數據塊中的任何一個都足以重建原始數據塊。
如果我們強制區塊生產者擦除交易tx1、tx2、...、txn的代碼,然后隱藏單個交易,則需要隱藏n+1個交易,因為任何足以構建整個交易集的交易。在這種情況下,恒定數量的查詢使輕客戶端足以確信底層數據確實可用。
哇,原來如此?
不。雖然這個簡單的技巧使隱藏工作變得更加困難,但區塊生產者仍有可能故意以錯誤的方式執行擦除編碼。然而,一個完整的節點可以驗證這個擦除編碼是否正確完成,如果沒有,它可以向輕客戶端證明這一點。這被稱為欺詐證明。有趣的是,輕客戶端需要有一個誠實的全節點鄰居才能確定如果編碼錯誤,那么它將收到欺詐證明。這確保了輕客戶端以極高的概率訪問沒有惡意交易的鏈。
但是存在一個問題!如果簡單地實現,欺詐證明的大小可以按照塊本身的大小排序。但我們對輕客戶端的資源預設禁止我們使用這樣的設計。通過使用多維擦除編碼技術,可以在這方面有所改進,該技術以可接受的大小減少欺詐證明的大小。為簡潔起見,我們不涉及這些,但該文獻對其進行了詳細分析。
基于欺詐證明的解決方案的問題在于,輕客戶端永遠無法完全確定尚未收到欺詐證明的任何塊。此外,他們一直相信其全節點對等方是誠實的。還需要激勵誠實的節點不斷保持審計區塊。
有沒有辦法避免欺詐證明?
最近,向量承諾重新引起了區塊鏈領域的關注。這些向量承諾,尤其是對多項式的恒定大小的KZG/Kate承諾,可用于設計簡潔的DA方案,而無需欺詐證明。簡而言之,Kate承諾允許我們使用單個組元素提交多項式。此外,該方案支持我們證明在某個點i使用恒定大小的見證,多項式評估為。承諾方案在計算上是隱藏和綁定的,也是同態的,使我們能夠巧妙地避免欺詐證明。
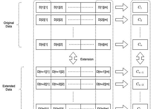
我們強制塊生產者獲取原始交易數據并將其排列在大小為n,m的二維矩陣中。它使用多項式插值將大小為n的每一列擴展為大小為2n的列。對于這個擴展矩陣的每一行,它都會生成一個多項式承諾,并將這些承諾作為區塊頭的一部分發送。下面給出了該塊的示意圖。
輕客戶端查詢這個擴展矩陣的任何單元格以獲得見證,這使它能夠立即根據塊頭驗證它。恒定大小的成員證明使抽樣非常有效。承諾的同態性質確保只有在正確構造塊的情況下才驗證證明,并且多項式插值確保成功樣本的恒定數量意味著數據以非常高的概率可用。

該方案的更精細細節以及進一步的優化和成本估算超出了本文的范圍。
其他選擇是什么,以及進一步變更是什么?
更高維的擦除代碼和Kate承諾并不是解決DA問題的唯一方法。我們在這里跳過了其他方法,如編碼默克爾樹、編碼交錯樹、基于FRI和STARK的方法,但每種方法都有其優點和缺點。
我們在Polygon,一直在使用Kate承諾開發數據可用性解決方案。在后面的文章中,我們將介紹實現細節、您現在可以如何使用它以及我們如何致力于轉變DA問題空間。
Tags:區塊鏈ROLLROL以太坊區塊鏈專業方向好就業嗎roll幣可以roll坐騎嗎HydroLink以太坊價格今日行情美元實時
盡管近兩日比特幣的價格有所回升,但根據摩根大通最新報告,該行仍對這一全球最大的加密貨幣持負面展望,并預計在6月至7月期間,全球最大比特幣基金的拋售將再次引發劇烈震蕩.
1900/1/1 0:00:00區塊鏈是一種去中心化協議,它將數據庫分布在其網絡中的多個節點上,為過去、當前和未來的交易建立共識機制。區塊鏈中的數據結構表示為區塊.
1900/1/1 0:00:00一開始只是一個笑話,現在卻成為了一個試圖顛覆金融業運動的典型代表。狗狗幣,這個由軟件工程師BillyMarkus和JacksonPalmer創建的加密貨幣,作為一種樂趣,已經發現自己陷入了其著名.
1900/1/1 0:00:00.details.details-contp,p{word-break:normal;text-align:unset}pimg{text-align:center!important}根據Co.
1900/1/1 0:00:00風物長宜放眼量。 現下市場被多方力量壓制,正當是我們靜下心來學習,看清遠方的高山,為以后的道路清掃腳下沙礫的時候。賺錢需要契機,但持續的賺錢需要知識,學習永不止步.
1900/1/1 0:00:00“人類到了這樣的一個時期:不僅被算力所改變,而且被算力所“異化”。算力革命支撐和推動著數字經濟和數字財富的擴張”——朱嘉明比特幣發展至今,已經超越了比特幣誕生本身的意義.
1900/1/1 0:00:00