BTC/HKD-0.31%
ETH/HKD-0.03%
LTC/HKD-0.91%
ADA/HKD-0.52%
SOL/HKD-0.71%
XRP/HKD-0.07%NFT生態在迅速增長,并且構成了以太坊鏈上gas消耗的重要部分。NFT生態系統仍處于年輕態并相對缺乏根基,并且由于NFT領域很大一部分屬于非金融性質,因此更需要避免高額費用,這使得轉移到layer2成為主要目標。然而,這就拋出了如何轉移到layer2的問題。一個簡單的提議是通過社會性協調轉移到一個特定的rollup平臺(例如Arbitrum,因為目前已經支持通用智能合約部署),但這樣做也有幾處劣勢:所有目前支持EVM的主要rollup平臺都有后門、中心化排序或其他輔助措施,將整個生態系統轉移到單個rollup是有風險的,而rollup將如何升級這些功能還存在不確定性;NFT生態系統最終可能成長到單個rollup無法安全承載的體量;NFT生態系統的任何部分,甚至整個NFT生態系統,都不是封閉的;他們將需要與以太坊生態系統的其他部分進行互操作本文提出了一個使NFT友好跨rollup并使其遷移到整個layer2生態中的提案。提議解決方案一
Vitalik持有的ETH已經價值4.749億美元:ETH的價格于今日創下新高,最高達到1439美元,市值達到1600億美元。根據Forbes Crypto的信息,以太坊聯合創始人Vitalik持有33.3萬枚ETH,價值已經達到4.749億美元。[2021/1/19 16:32:46]
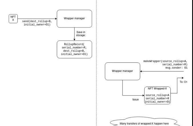
NFT可以在單個rollup中進行初始注冊,然后通過創建wrapperNFT(封裝NFT)在不同的rollups(或者是底層鏈)中轉移。NFTwrapping過程如下:在RollupA上,將NFT(設為X)發送到封裝管理器合約(wrappermanagercontract),指定(i)目標Rollup和(ii)初始所有者。加密箱合約(lockboxcontract)存儲一條記錄,為X分配一個新的序列號R,并保存目標Rollup(設為B)和目標Rollup的初始所有者(設為01)。在RollupB上,任何人都可以使用RollupB上的封裝管理器合約創建wrapperNFT。創建一個wrapperNFT需要指定源Rollup和序列號。要創建X的一個“有效”wrapperNFT,只能由指定的所有者和通過聲明(R,A)作為序列號和源rollup完成。注意,有可能會創建一個指向無內容的無效wrapperNFT,而RollupB無法分辨有效和無效。封裝管理器合約存儲(序列號、源Rollup、初始所有者)值組并防止使用同一個值組創建多個wrapperNFT。要從加密箱中提出NFT,RollupB上的wrapped-X的當前所有者必須將其發送回封裝管理器,后者發布收據說明“序列號為R、源rollupA和初始所有者01的NFT已經解除封裝,以及潛在的新所有者02”。加密箱合約可以在收到rollupB上收據的證明之后將NFTX交由02,并根據其存儲的信息檢查序列號、源Rollup和初始所有者,并驗證NFT的轉移。請注意,提取NFT存在時間延遲,因為OptimisticRollup類解決方案的狀態根需要大約一周的延遲才能最終確定,以便驗證收據。到目前為止,更快地進行多跳的唯一方法是進行多層封裝。
Vitalik:以太坊2.0或需多年才能解決擴容問題:以太坊聯合創始人Vitalik Buterin表示,以太坊基礎層可擴展性還有很長路要走,很可能在很多年之后都無法實現區塊鏈基礎層擴容。按照Vitalik說法,基于應用程序基礎層擴容或許會在以太坊2.0最后一個主要階段完成之后才會出現,所以可能需要等待幾年。Vitalik表示,他鑒于當前情況建議將以太坊擴容工作全部放在二層Layer 2解決方案上,同時他建議一旦「以太坊1.5階段」完全通過權益證明,那么基本上就不會關注擴容問題了。如果用戶不確信「以太坊1.5階段」能夠解決容量問題,那么還可以采取折衷方法,即:擁有少量執行分片(比如4-8個)和更多數據分片。Vitalik建議在錢包中直接構建二層協議,比如MetaMask或Status,他也強調在「跨二層協議傳輸」方面需要做更多工作,二層解決方案可以某種方式成為協議本身一部分,而以太坊1.0則可以用作為Optimistic Rollup客戶端。[2020/10/3]

動態 | 區塊鏈公司SimplyVital Health獲得美國國家科學基金會22.5萬美元贈款:根據在10月10日發布的新聞稿,總部位于新英格蘭的區塊鏈公司SimplyVital Health已從美國國家科學基金會(NSF)獲得225,000美元的贈款,用于研究其協議Nexus與Graphene協議的集成。NSF將該贈款作為其小型企業計劃的一部分,該計劃每年向創新型初創企業和小型企業捐款2億美元。[2019/10/11]

用戶要驗證wrappedX是否合法,需要自己驗證RollupB上的狀態和RollupA上的收據。拓展:增加跨rollup轉賬
行情 | Activity 指數EOS排名第一:據blocktivity.info數據顯示,Activity 指數排名第一的EOS 現報為 6,101,280 ,排名第二的STEEM 的 Activity 指數為 1,122,576 ,排名第三的BTS的 Activity 指數為 949,526 ,排名第四的ETH 的 Activity 指數為 574,337 ,排名第五的BTC 的 Activity 指數為 183,026 。Acitivity 指數為最近 24 小時內在區塊鏈上執行的操作數量。[2018/8/26]
在rollupB上,wrapped-X的所有者可以將其發送給封裝管理器,并附上一條指令發布不同的收據“序列號為R、源RollupA和初始所有者為01的NFT剛剛轉移到RollupC,以及潛在的新所有者02”。在RollupC上,任何人都可以通過指定原始源Rollup(在目前示例中為RollupA)、序列號和初始所有者來制作wrapped-X對象,并且RollupC上的此wrapped-X可以進行自由交易。但是一旦如此,提出wrapped-X需要發布跨rollup轉移產生的所有收據(當前實例中為2個)。
聲音 | BM 評價 Vitalik 新共識算法:是對非 BFT 終結性的正式描述:據 IMEOS 報道,Vitalik 近期在其博客上發布了一篇名為《一個99%容錯共識的指南》的文章,文章認為這個算法只需要 1% 的節點“誠實”。這意味著,從理論上講,攻擊者需要控制超過99% 的區塊鏈節點才能進行攻擊。因此不再有 51% 的攻擊。
EOS 社區成員詢問 BM 對這個文章的看法以及意見,BM 回復道:這篇文章沒有給出譬如什么時候開始實施的時間先,但可以安全地假設一下這個新算法將會在基于 POS 的共識生效后實施......所以相當于在宇宙熱寂之后實施......
“不過這個算法是關于 Steem 和 Bitshare 的非 BFT 終結性的正式描述,這就很有趣了。”[2018/8/16]


請注意為了簡單起見,“提款”本身不再是跨rollup的操作,而是是通過跨rollup完成的,在rollupA上創建wrapped-X(X的同一個rollup),然后單獨進行一步unwrapping(解除封裝)操作。實際上,當NFT從一個rollup轉移到另一個rollup時,轉移路徑上的鏈會產生一串收據,該收據鏈中的每一個收據都被鏡像到rollupA,并且在未來,當其他rollup的狀態根最終確定時,這些收據將在某個時間點按序被處理(在短期內可以通過Kate承諾進行空間優化,長遠來看可以通過ZK-SNARK證明整條收據鏈)。用戶要驗證wrappedX的真實性,需要驗證所有路徑rollup反映了跨rollup轉移的整個收據鏈(或者至少是繼上一個收據之后已經鏡像到rollupA的收據鏈)。擴展2:在底層鏈上優化發行gas
所有NFT都可以這種方式發行:由以太坊底層鏈上的加密箱“擁有”。為了優化gas的效率,加密箱合約將具備生成一套序列號并將其傳輸到rollup的功能。實際上,所有NFT都是預先創建的,但尚未分配“意義”給其中任何一個(可以想象成有2*256個尚未分化的“干細胞”NFT),并且它們以批量形式轉移到rollup。“發行”過程現在就變成了分配意義的過程。這可以通過在收據中傳遞“含義哈希”來完成,與所有者傳遞的形式相同:如果NFT沒有意義(是一個"干細胞"),所有者可以為其分配一個含義,使其成為一個具有“差異性”的NFT。底層鏈只有在驗證收據鏈后才知道NFT的含義,直到分配含義為止(實際上,收據驗證必須是ZK-SNARK的才具備可行性)。這允許所有NFT都在底層鏈中“扎根”,而不是rollup。這對于處理rollup故障、因其他原因不可用或是應用需要永久遷移到其他域的情況來說很有幫助。
穩定幣一直是加密貨幣市場上長期討論的熱點之一,穩定幣能夠提高包括支付在內的金融服務的效率,同時,也能夠促進金融的包容性。對于穩定幣來說,他們還可能提供一種新的資產交易和保值手段.
1900/1/1 0:00:00DappRadar區塊鏈用戶行為報告這次將重點放在游戲上。在這份報告中,我們將分析全球趨勢,包括人口統計學和連接性分析,所有這些都是針對游戲dapp和其中的用戶.
1900/1/1 0:00:00一枚NFT代表的可能是一個頭像,一張畫,一個游戲道具。而這些NFT的價格已經遠遠超出一般人的理解與想象.
1900/1/1 0:00:00圖片來源:網絡作者:LincolnMurr,AmyLiu過去幾周,加密貨幣市場一直在反彈,比特幣創下55,000美元的3個月高點.
1900/1/1 0:00:00作者|王佳健出品|白話區塊鏈區塊鏈已經火熱了好幾年,產業區塊鏈被認為是區塊鏈目前最大的價值所在,但區塊鏈將在哪些領域起作用?怎么起作用呢?今天,我們就來聊一聊區塊鏈技術的三大應用場景.
1900/1/1 0:00:009月10日,Centrifuge聯合Odaily星球日報和PolkaWorld舉辦「星際巡航——與Centrifuge一起探索波卡DeFi新范式,暨Altair平行鏈競拍發布會」.
1900/1/1 0:00:00